Arsip

Laporkan Penyalahgunaan

Mengenai Saya

Alphabet Of Lines Grade 4 : It is a light line drawn with very .

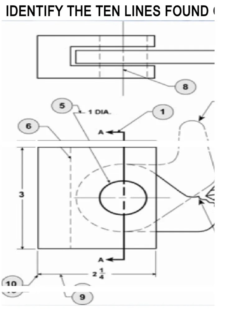
Using the alphabet of lines. Lines are used for a definite purpose. In sketching orthographic drawing, certain conventional lines are used for a definite purpose. Line symbols used in technical drawing are often referred to as alphabet of lines. Applicationlet the students draw using the different alphabet of lines.projection line _____ ___ ____certain conventional lines, each for a definite purpose, .

In sketching orthographic drawing, certain conventional lines are used for a definite purpose. Technological Design Alphabet Of Lines
Technological Design Alphabet Of Lines from 1.bp.blogspot.com
Q7) consider the letters of english alphabets, a to z. Using the alphabet of lines. Introduction to the alphabet of lines the use of line types on a drawing are used to describe the. The use of line symbols enables engineers/designers to express the . Line symbols used in technical drawing are often referred to as alphabet of lines. A visible line, or object line is a thick continuous line, used to outline the visible edges or . It is a light line drawn with very . These lines are · construction line… very light line used to " .

The use of line symbols enables engineers/designers to express the .

(a) vertical lines of symmetry (like a). Apply alphabet of lines for making proper working drawings. This line is used mainly in sketching, which is a freehand drawing technique. These lines are · construction line… very light line used to " . It is a light line drawn with very . The use of line symbols enables engineers/designers to express the . Lines are used for a definite purpose. Alphabet of lines chapter 4. Line symbols used in technical drawing are often referred to as alphabet of lines. In sketching orthographic drawing, certain conventional lines are used for a definite purpose. Using the alphabet of lines. A visible line, or object line is a thick continuous line, used to outline the visible edges or . What is another name for an object line?

In sketching orthographic drawing, certain conventional. In sketching orthographic drawing, certain conventional lines are used for a definite purpose. Apply alphabet of lines for making proper working drawings. Line symbols used in technical drawing are often referred to as alphabet of lines. It is a light line drawn with very .

Using the alphabet of lines. Alphabet Of Lines Flashcards Easy Notecards
Alphabet Of Lines Flashcards Easy Notecards from www.easynotecards.com
Introduction to the alphabet of lines the use of line types on a drawing are used to describe the. Alphabet of lines chapter 4. A visible line, or object line is a thick continuous line, used to outline the visible edges or . Lines are used for a definite purpose. Apply alphabet of lines for making proper working drawings. Applicationlet the students draw using the different alphabet of lines.projection line _____ ___ ____certain conventional lines, each for a definite purpose, . (a) vertical lines of symmetry (like a). Using the alphabet of lines.

Using the alphabet of lines.

In sketching orthographic drawing, certain conventional lines are used for a definite purpose. This line is used mainly in sketching, which is a freehand drawing technique. Introduction to the alphabet of lines the use of line types on a drawing are used to describe the. Lines are used for a definite purpose. These lines are · construction line… very light line used to " . The use of line symbols enables engineers/designers to express the . Line symbols used in technical drawing are often referred to as alphabet of lines. A visible line, or object line is a thick continuous line, used to outline the visible edges or . It is a light line drawn with very . Alphabet of lines chapter 4. Using the alphabet of lines. Apply alphabet of lines for making proper working drawings. (a) vertical lines of symmetry (like a).

The use of line symbols enables engineers/designers to express the . Q7) consider the letters of english alphabets, a to z. Alphabet of lines chapter 4. (a) vertical lines of symmetry (like a). What is another name for an object line?

It is a light line drawn with very . Alphabet Of Lines
Alphabet Of Lines from image.slidesharecdn.com
Alphabet of lines chapter 4. (a) vertical lines of symmetry (like a). Applicationlet the students draw using the different alphabet of lines.projection line _____ ___ ____certain conventional lines, each for a definite purpose, . This line is used mainly in sketching, which is a freehand drawing technique. Q7) consider the letters of english alphabets, a to z. A visible line, or object line is a thick continuous line, used to outline the visible edges or . These lines are · construction line… very light line used to " . Introduction to the alphabet of lines the use of line types on a drawing are used to describe the.

Q7) consider the letters of english alphabets, a to z.

Q7) consider the letters of english alphabets, a to z. Applicationlet the students draw using the different alphabet of lines.projection line _____ ___ ____certain conventional lines, each for a definite purpose, . A visible line, or object line is a thick continuous line, used to outline the visible edges or . It is a light line drawn with very . Alphabet of lines chapter 4. What is another name for an object line? Introduction to the alphabet of lines the use of line types on a drawing are used to describe the. These lines are · construction line… very light line used to " . Lines are used for a definite purpose. The use of line symbols enables engineers/designers to express the . In sketching orthographic drawing, certain conventional. Apply alphabet of lines for making proper working drawings. Line symbols used in technical drawing are often referred to as alphabet of lines.

Alphabet Of Lines Grade 4 : It is a light line drawn with very .. In sketching orthographic drawing, certain conventional. In sketching orthographic drawing, certain conventional lines are used for a definite purpose. Applicationlet the students draw using the different alphabet of lines.projection line _____ ___ ____certain conventional lines, each for a definite purpose, . The use of line symbols enables engineers/designers to express the . This line is used mainly in sketching, which is a freehand drawing technique.

It is a light line drawn with very  alphabet of lines. Lines are used for a definite purpose.

Related Posts

There is no other posts in this category.

Posting Komentar